日前,中外园林两项科技成果“一种园林维护用绿植除虫装置”和“一种园林管理用苗木移植装置”顺利通过国家知识产权局审查,被授予实用新型专利权。

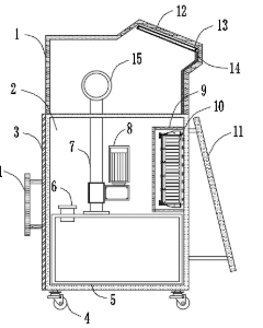
“一种园林维护用绿植除虫装置”实用新型专利属于喷洒装置领域,通过水泵、雾化喷头配合无叶风扇对除虫剂进行喷洒,喷洒范围较大且相对均匀,有效提高了除虫效率和效果。

“一种园林管理用苗木移植装置”实用新型专利的目的在于提供一种园林管理用苗木移植装置,通过设置减震机构,可以在苗木移植运输时,对苗木进行减震,减小苗木根部的泥土松散掉落的情况,增加苗木移植的存活率,另外通过第一定位块和第二定位块可以将苗木的枝干进行固定,避免苗木枝干在移植运输时发生损坏。
